Cód Roni Chaves: 50030047
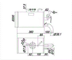
Referência: A310565MM

TANQUE COMPENSAÇÃO RADIADOR

OF 1318 1620

Quantidade

OF 1318 1620